HUNGARIAN
GLIDERS
1933-2000
Short history:
In 1958 the MHSz, the central organization controlling all flying sports in Hungary, placed an order with PGE to design and produce a two-seater glider for basic instruction, a single-seat training and a single-seat standard-class performance glider. The specification called for all-light-metal structures, easy and common maintenance characteristics as well as similar flight characteristics. As regards the schedules of the development works priority was given to the standard-class ship, as it had been planned to participate with this glider at the world championships in 1960.
The concept of the three gliders was based on the - design, production as well as operational - experiences gained with the R-23 Gébics. The design work aimed for as much common assemblies and parts as possible, and for common production technology.
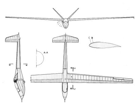
The first design, the standard class glider got he designation of R-25 and the name of "Mokány" (a person, who has plenty of guts).
First flew in September 25, 1960, missing the world championships. Testing this glider nearly 100 flights were flown. Then performance measurement flights followed, which were conducted by the Aircraft Department of the Technical University of Budapest. The most remarkable flights with the glider are the following: 101,8 km/h speed over a 170 km distance flight; 315, 320 and 306 km distance flights, all flown by György Petróczy in 1962. At present the glider is exhibited at the Permanent Aircraft Exhibition of the Hungarian Museum of Transportation. Only one example had been built as the prformance targets were not met.
The glider was certified for cloud flying, spins and basic aerobatics.
Structure: All-metal
   Wing:
The tapered wings have split ailerons with unusually small area. The wing's airfoil is NACA 643-618 section modified by Rubik's corrugated light-metal skin in front of the main spar. The other parts of the wing are fabric covered. To control the glide-slope on final a bat-like airbrake system is fitted which is similar to that of the R-23 Gébics.
The fuselage and wing attachment is similar that of the R-23 Gébics. The glider can be easily and quickly assembled/disassembled. The control system of the ailerons connect automatically.
When closed the bat-like airbrake fits tightly into the fuselage's side.
   Fuselage:
The lateral view of the fuselage is similar that of the Gébics. The front part has elliptical cross-section and nests a comfortable cabin. The one-pice plexiglas canopy streamlined into the fuselage's outline, and provides good visibility for the pilot. The rear part of the fuselage has a circular cross-section the radius of which is reduced gradually toward the tail. The tail unit has a V-form arrangement. To balance the control surfaces Flettner-type control system as well as mass balancing were used. The deflections of the secondary control surfaces fitted on the trailing edges of the main control surfaces are always forcing the main surfaces to their neutral positions. The result of this system is that the glider can be flown with hand-off controls. The landing gear consists of a wheel positioned in front of the c.g. of the empty glider, a nose skid streamlined into the fuselage's bottom, and a tail skid made of a steel spring-band. The non-retractable wheel has a spring suspension.
The fuselage is an aerodynamically refined version of that of the R-23 Gébics.
   Tail unit:
The V-form tail surfaces have light-metal structures, which consist of main spars made of tubes and specially corrugated sheets in front of the spars without ribs, and behind the spars fabric covered ribs. The surfaces can be folded up for transportation without disconnecting the control mechanisms.
| Dimensions: |
|    Wing: |
| Span, m: |
14,98 |
| Area, m2: |
11 |
| Aspect ratio: |
20,5 |
| Chord (root), m: |
1,02 |
| Chord (tip), m: |
0,48 |
| Airfoil (root), m: |
NACA 643-618 mod. |
| Airfoil (mid-span), m: |
NACA 643-618 mod. |
| Airfoil (tip), m: |
NACA 643-618 mod. |
| Dihedral, degree: |
3 |
| Sweep, degree: |
-1,03 |
| Washout: |
None |
|    Aileron: |
| Span, m: |
2,2 |
| Mean chord, m: |
0,19 |
| Total area, m2: |
0,84 |
| Balancing: |
Aerodynamic(Frise) and 75% mass |
|    Flap: |
| Type: |
None |
|    Airbrakes: |
| Type: |
Bat-like |
| Position (upside/downside): |
Under the wings on the sides of the fuselage |
| Total area, m2: |
0,6 |
|    Horizontal stabilizer: |
| Span, m: |
2,88 (projection of the V surface) |
| Area, m2: |
2,46 (projection of the V surface) |
|    Elevator: |
| Span, m: |
2,46 (projection of the V surface) |
| Area, m2: |
2,46 (projection of the V surface) |
| Airfoil: |
NACA 0012-63 mod. |
| Balancing: |
Aerodynamic and mass |
| Trim: |
Flettner tab |
|    Vertical stabilizer and rudder: |
| Total area, m2: |
1,72 (projection of the V surface) |
| Rudder area, m2: |
1,72 (projection of the V surface) |
| Balancing: |
Flettner tab |
|    Fuselage: |
| Length, m: |
7,31 |
| Width, m: |
0,61 |
| Height: |
1,14 |
| Cross section, m2: |
0,5 |
|    Landing gear: |
| Type: |
Fixed wheel with spring suspension |
| Wheel diameter, m: |
0,260 |
| Masses: |
| Wing, kg: |
90 |
| Fuselage, kg: |
46 |
| Tail unit, kg: |
10 |
| Empty glider, kg: |
160 |
| Gross, kg: |
250 |
| Ballast, kg: |
None |
| Wing loading, kg/m2: |
22,7 |
| Speeds: |
| VNE, km/h: |
250 |
| Max. speed with open airbrakes, km/h: |
190 |
| Max. aerotow speed, km/h: |
100 |
| Max. winch speed, km/h: |
80 |
| Max. speed in rough air, km/h: |
? |
| Stall speed, km/h: |
60 |
| Performance: |
| Min. sink, m/s (at gliding speed, km/h): |
0,7/70 |
| Best L/D (at gliding speed, km/h): |
28/79 |
| Start methods: |
Winch, Aerotow |

Origin of data and 3-view drawing:
Jereb Gábor: Magyar vitorlázó repülőgépek, Műszaki Könyvkiadó, 1988, Budapest
(Gábor JEREB: Hungarian Gliders, Technical Publishing House, 1988, Budapest)
Gábor FEKECS E-mail: fekecs.gabor@t-online.hu